Minyak Power Steering Bocor : Tips Memperbaiki Gearbox Power Steering Yang Terjadi Rembesan Atau Kebocoran Oli Dunia Otomotif Id - Cara cek minyak power steering mobil.

Minyak Power Steering Bocor : Tips Memperbaiki Gearbox Power Steering Yang Terjadi Rembesan Atau Kebocoran Oli Dunia Otomotif Id - Cara cek minyak power steering mobil.. Jika udara atau air bocor ke dalam minyak power steering, akan tampak berbusa atau berbuih. Minyak pelumas ini secara ilmiah diformulasikan untuk menghentikan atau mengurangi kehilangan cairan akibat segel bocor. Selain minyak power steering yang bocor, penyebab permasalahan pada power steering juga bisa disebabkan karena aliran atau tekanan hidrolik power steering mulai berkurang. 1 169 просмотров 1,1 тыс. Perpindahan fluida (minyak power steering) akibat tekanan pompa.

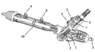
Perpindahan fluida (minyak power steering) akibat tekanan pompa. Melayani pembelian atau perbaikan power steering bocor, bunyi, berat dengan tipe power steering sistem tekanan minyak (hydrolic) maupun sistem dapatkan ganti oli power steering gratis setiap perbaikan power steering. Rekondisi bush arm set karet kaki mobil nissan serena hws akibat minyak power steering bocor. Terdapat pelbagai faktor berlaku situasi ini dan antaranya disebabkan kebocoran minyak power steering atau oil power steering. Seal ini berfungsi mencegah kebocoran minyak rem pada as power steering.

Alasan Setir Mobil Harus Lurus Saat Parkir
Alasan Setir Mobil Harus Lurus Saat Parkir from asset.kompas.com
Cara cek minyak power steering mobil. Minyak power steering berkurang bisa juga karna selang high pressure bocor. Lokasi kita ada di sidoarjo, kita ada program. Oli power steering anti bocor | solusi power steering bocor. Saya merasa ada masalah serius dengan mobil saya. Jika udara atau air bocor ke dalam minyak power steering, akan tampak berbusa atau berbuih. Oli power steering kurang terus akibat dari seal power steering yang bocor. Posted on march 23, 2011 by pass10n.

Bermula pada malamnya, saya mendengan ada bunyi ssst dari bagian mesin, taoi saya tetap jalankan mobilnya.

Ada 20 gudang lagu minyak power steering bocor terbaru, klik salah satu untuk download lagu mudah dan cepat. Ternyata ini penyebabnya !!!jumlah minyak power steering berkurang. Beberapa bagian power steering yang sering bocor antara lain Solusi cepat power steering bocor bisa menggunakan prestone power steering stop leak. Melayani pembelian atau perbaikan power steering bocor, bunyi, berat dengan tipe power steering sistem tekanan minyak (hydrolic) maupun sistem dapatkan ganti oli power steering gratis setiap perbaikan power steering. Cara tukar hos power steering pump amp high pressure line. Lokasi kita ada di sidoarjo, kita ada program. Share ganti seal steering rack aerio yang bocor penyeba. Apakah mobil anda mengalamai power steering bocor? Mengganti tabung minyak power steering yg bocor. Beli oli power steering online berkualitas dengan harga murah terbaru 2021 di tokopedia! Minyak pelumas ini secara ilmiah diformulasikan untuk menghentikan atau mengurangi kehilangan cairan akibat segel bocor. Mungkin juga ada kasus ketika anda menemukan partikel krom dalam minyak.

Sehingga minyak power steering bisa bocor. Terdapat pelbagai faktor berlaku situasi ini dan antaranya disebabkan kebocoran minyak power steering atau oil power steering. Minyak power steering berkurang bisa juga karna selang high pressure bocor. Ternyata ini penyebabnya !!!jumlah minyak power steering berkurang. Cara tukar hos power steering pump amp high pressure line.

Tacra S Diy Garage Power Steering Pump Repair
Tacra S Diy Garage Power Steering Pump Repair from 4.bp.blogspot.com
Gratis tune up dan gurah mobil : Berikut adalah oli power steering anti bocor. Sekilas info dan tips pemeliharaan dan perawatan power steering hidrolik (part 1). Cara cara membaiki minyak bocor steering rack repairing oil leaking steering rack for all of car. 19:00:40 botak seng fatmawati power steering. Fluida yang berpindah dari satu sisi ke sisi lain mengebabkan pergeseran kedudukan gigi pada sistem roda gigi kemudi. Selain klem yang rapuh, posisi klem yang kurang klop juga bisa menyebabkan kebocoran. Mungkin juga ada kasus ketika anda menemukan partikel krom dalam minyak.

Berikut adalah oli power steering anti bocor.

Titisan minyak berwarna hitam pekat dari bahagian bawah kenderaan bukan sahaja 'menyakitkan' mata malah, mengotorkan permukaan lantai. 1 169 просмотров 1,1 тыс. Bermula pada malamnya, saya mendengan ada bunyi ssst dari bagian mesin, taoi saya tetap jalankan mobilnya. Cara cek minyak power steering mobil. Lokasi kita ada di sidoarjo, kita ada program. Hampir setiap saat banyak produsen otomotif ternama dunia yang selalu mengeluarkan inovasi baru, canggih dan juga tentunya begitu inovatif. Terfasilitasi lift mobil, untuk anda dapat memantau kondisi. Fluida yang berpindah dari satu sisi ke sisi lain mengebabkan pergeseran kedudukan gigi pada sistem roda gigi kemudi. Kamil motor 25.118 views2 years ago. Cara tukar hos power steering pump amp high pressure line. Beberapa bagian power steering yang sering bocor antara lain Cara mengatasi power steering bocor. Berikut adalah oli power steering anti bocor.

Fluida yang berpindah dari satu sisi ke sisi lain mengebabkan pergeseran kedudukan gigi pada sistem roda gigi kemudi. Hampir setiap saat banyak produsen otomotif ternama dunia yang selalu mengeluarkan inovasi baru, canggih dan juga tentunya begitu inovatif. Share rembes dari seal crankshaft belakang grand livina. Pergeseran inilah menggerakan roda ke kiri atau kekanan sesuai kehendak pengemudi mobil. Mengganti tabung minyak power steering yg bocor.

Mengenali Gejala Gejala Power Steering Bermasalah
Mengenali Gejala Gejala Power Steering Bermasalah from cieloownercommunity.com
Cara cek minyak power steering mobil. Saya merasa ada masalah serius dengan mobil saya. Oli power steering kurang terus akibat dari seal power steering yang bocor. Berikut adalah oli power steering anti bocor. Pagi hari, tgl 30 maret 2011, saya mencoba mengecek, dan saya dapati bahwa selang oli power steering bocor. Lokasi kita ada di sidoarjo, kita ada program. Ganti tabung power steering aerio dengan apv {zainal ab. Terfasilitasi lift mobil, untuk anda dapat memantau kondisi.

Jika udara atau air bocor ke dalam minyak power steering, akan tampak berbusa atau berbuih.

Posted on march 23, 2011 by pass10n. Cara flushing ganti minyak power steering proton exora. Report perbaikan ocv dan power steering yang rembes oli. Kamil motor 25.118 views2 years ago. Selain minyak power steering yang bocor, penyebab permasalahan pada power steering juga bisa disebabkan karena aliran atau tekanan hidrolik power steering mulai berkurang. Cuma topup minyak power steering kerana ia tidak akan menyelesaikan masalah anda , flush atau bleeding yang bermaksud. Mengganti tabung minyak power steering yg bocor. Hampir setiap saat banyak produsen otomotif ternama dunia yang selalu mengeluarkan inovasi baru, canggih dan juga tentunya begitu inovatif. Perpindahan fluida (minyak power steering) akibat tekanan pompa. Ganti tabung power steering aerio dengan apv {zainal ab. Pergeseran inilah menggerakan roda ke kiri atau kekanan sesuai kehendak pengemudi mobil. Langsung saja ketemu sama mekanik, cerita keluhan. Stp® power steering fluid + stop leak dapat digunakan sebagai pengganti minyak power steering biasa yang memiliki sifat preventif.

Related : Minyak Power Steering Bocor : Tips Memperbaiki Gearbox Power Steering Yang Terjadi Rembesan Atau Kebocoran Oli Dunia Otomotif Id - Cara cek minyak power steering mobil..